Zespół naukowców Politechniki Koszalińskiej opatentował "Przegub o regulowanej sprężystości"
Zespół naukowców w składzie: prof. dr hab. inż. Wojciech Kacalak; dr hab. inż.; Zbigniew Budniak, prof. PK; dr inż. Monika Szada-Borzyszkowska, opatentował wynalazek pn. "Przegub o regulowanej sprężystości".
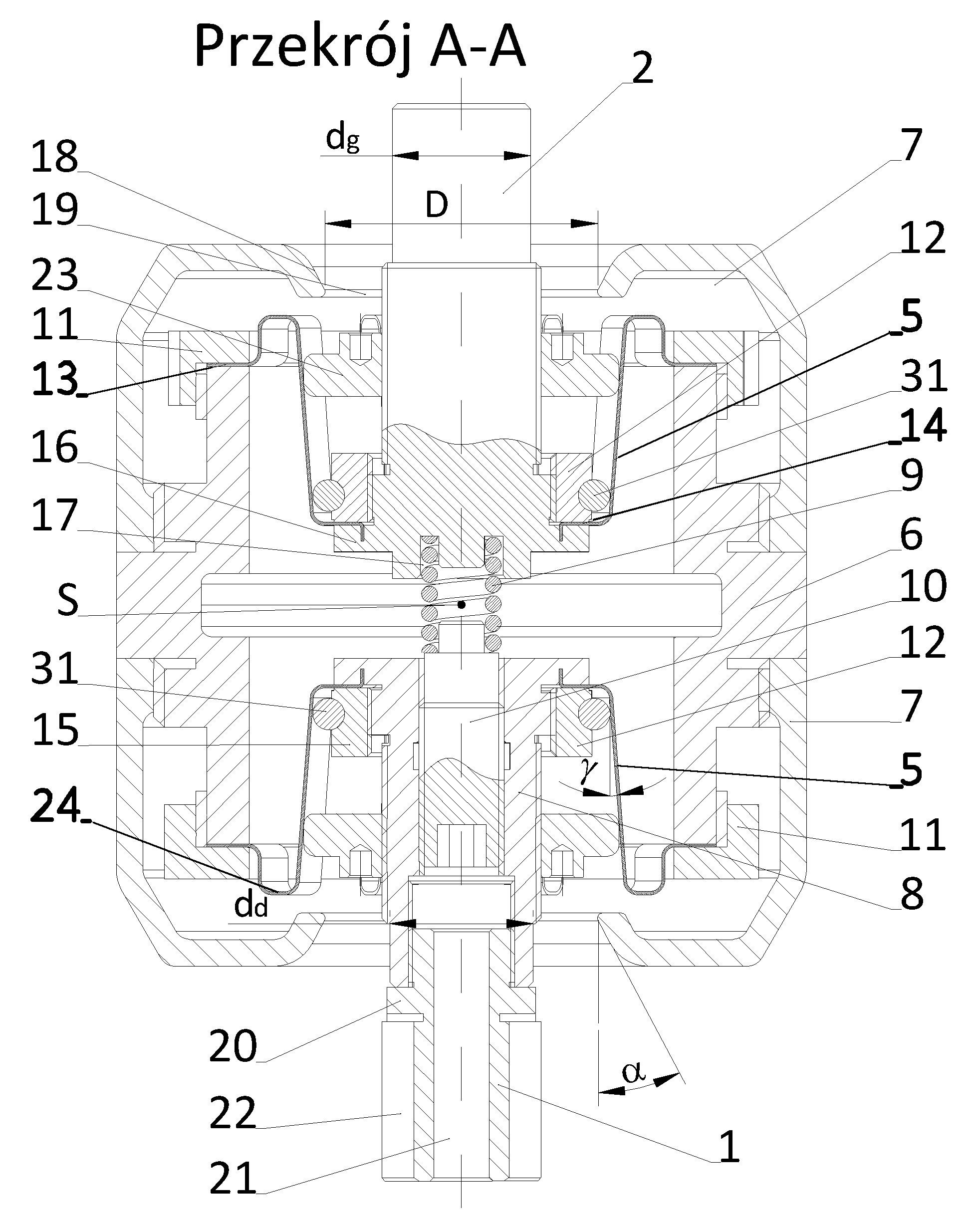
Wynalazek rozwiązuje problem budowy przegubów do robotów i manipulatorów jak również maszyn i urządzeń do przenoszenia napędów obrotowych.
Zaletą przegubu z regulowaną sprężystością jest możliwość realizacji przemieszczeń kątowych we wszystkich kierunkach, niewielkich przemieszczeń osiowych oraz przemieszczeń skrętnych jak również jego zdolność do pochłaniania i tłumienia drgań i łagodzenia gwałtownych zmian obciążenia.
Dodatkową zaletą wynalazku jest jego adaptacyjność do zmieniających się warunków pracy. Wraz ze wzrostem obciążenia przegubu zwiększają się opory ruchu, a po ustaniu obciążenia następuję samoczynny powrót do położenia nominalnego.
Bliższe informacje nt. przedmiotowego patentu, można znaleźć na stronie Konstelacji Wiedzy, portalu zarządzania wiedzą i potencjałem badawczym Politechniki Koszalińskiej.

